
支持4G/NB-iot無線方式,支持藍牙及遠程配置功能 IP68防護,內置鋰電池及天線,電池易更換。 超聲波+投入式液位雙探頭監測,更可靠更an全 適用于城市窨井、雨污水管網水位監測
MD-S271U系列無線窨井水位監測儀是一款針對城市窨井水位監測的應用場景而開發的、具有無線傳輸功能的智能終端。
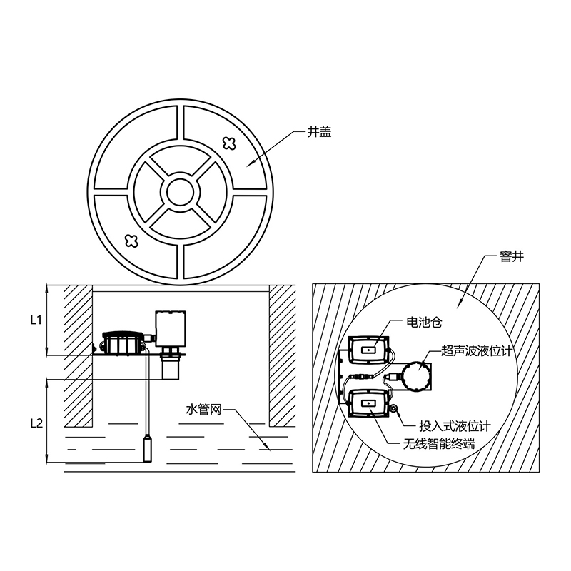
該系列監測儀采用了超聲波液位計和投入式液位計雙傳感器終端對窨井水位進行監測,既保證了水位的準確性,同時也增加了設備的可靠性。
該系列產品采用鋰電池供電,超低功耗設計,續航時間長達3年,采用了IP68的便攜式鋰電池盒,便于更換電池。專利設計的外殼采用耐受300kg強外力沖擊設計,通過了IP68防水等級認證和抗低溫測試。獨特的抗凍結設計,能夠保證在室外-30℃以下的嚴苛室外環境依然正常工作。
該系列內置無線傳輸模塊,具有多種無線傳輸方式,包括4G/LORa/NB-iot多種傳輸方式可選。
該系列產品功能強大,具有高水位報警、水位波動報警、低電量報警等多種功能,支持現場藍牙調試、遠程平臺配置參數。
該監測儀專門針對城市雨水管網及污水管網的應用場景開發。能夠為獲取窨井內的水位數據進行大數據分析,實時了解水位及可能的冒溢情況,分析管網的承載能力提供重要幫助。
產品功能:
高水位報警/波動報警/低電量報警 支持現場藍牙調試功能 支持平臺遠程配置
按鍵現場配置功能 便攜式電池盒設計
應用領域:
城市雨水管網 城市污水管網 河道
☆ 超聲波液位計/投入式液位計雙傳感器設計
☆ IP 68防水等級認證
☆ 4G/LORa/NB-iot多種無線傳輸方式可選
☆ 抗低溫設計,-30℃依然正常工作
☆ 低功耗設計,鋰電池供電,3年續航時間
型 號 MD-S271U-2G MD-S271U-LR MD-S271U-NB
傳輸方式 4G LORa NB-iot
窨井水位 0-7米 (其他量程可定制)
冒溢水位 0-4米
精度等級 ±0.05米
報警方式 高水位報警/高水位報警/波動報警/低電量報警
調試方式 按鍵配置/藍牙配置/遠程配置
供電電壓 3.6V鋰電池組
電氣保護 防反接保護
長期穩定性 ±0.25%FS/年(典型值)
顯示及背光 LCD顯示 白色背光
工作溫度 -30~70℃
采樣速率 10秒/次
上發速率 3分鐘-1440分鐘可設
電纜材質 PU
外殼材質 PA 66
安裝方式 支架壁掛式
防護等級 IP 68
備 注 * 續航時間可根據設計壽命需要,選擇不同容量的電池。

質量實行三包,質保12個月,終身維護
鋰電池供電的超聲波物位計,續航時間可達3年。 采用超低功耗設計,IP68防水...
支持NB-iot/4G無線通訊方式;支持藍牙/按鍵/平臺遠程配置 具有開水/關水檢...
智慧泵房整體解決方案,支持以太網及4G傳輸 支持本地化數據存儲,支持歷史數...
支持NB/4G/LORa/LORaWAN無線方式,內置天線及鋰電池 IP68防護等...
產品方案咨詢電話:021-57780480會務媒介合作電話:021-57780436售后服務電話:021-57724694企業傳真:021-51564102 33275110 |
企業郵箱 E-mailMarketing@meokon.com.cn |
![]() |
友情鏈接: Made-in-china?阿里巴巴國際站?中國智能制造網?中國化工儀器網?中國制造網?阿里巴巴中國站?企業郵箱?
Copyright 2014 @Shanghai Mingkong Sensor Technology CO.,Ltd 上海銘控傳感技術有限公司 企業郵箱 滬ICP備14000488號-1
滬公網安備 31011802003696號